Apple запретила груши и другие фрукты
Зарегистрировать логотип в виде груши компания Pear Technologies (она занимается разработкой ПО и оказывает услуги цифрового картографирования) пыталась с февраля 2014 года. Однако уже в ноябре юристы Apple оспорили данную заявку. По мнению представителей компании, логотипы яблока и груши являются одинаковыми с юридической точки зрения. Так, оба изображения являются «абстрактной стилизацией» и имеют «гладкие округлые очертания».
В свою очередь, юристы Pear Technologies напомнили, что изображения груши и яблока различаются между собой. Кроме того, у логотипа компании нет надкусанных частей, он окрашен в серый цвет, а под ним размещено название фирмы. В итоге в EUIPO признали, что изображения имеют отличия, однако этого все равно недостаточно, чтобы избежать заключения об их «визуальном сходстве».
Apple также поспособствовала удалению заявок на регистрацию других товарных знаков Pear Technologies с изображением груши. Юристы корпорации доказали, что изображение надкушенного яблока настолько сильно ассоциируется у населения с Apple, что другие логотипы с фруктами в том же сегменте рынка могут ввести потребителей в заблуждение.
Несколько ранее Apple запретила пользователям искать потерянные наушники AirPods и удалила из магазина приложений App Store приложение Finder for AirPods, которое помогает найти утерянные наушники AirPods. В случае потери одного из наушников Apple предлагает купить утраченный гаджет за 69 долларов. Официальная стоимость AirPods в России составляет 13 тысяч рублей.
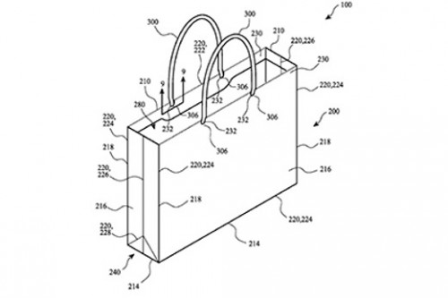
А в марте 2016 года Apple запатентовала обыкновенный бумажный пакет с гибкими ручками. Вот такой:
Вы хотите сказать, что они там в Apple совершенно спятили? Так уже давно, брателло, уже очень давно. Это же секта, а в любой секте всегда наступает фаза короткого замыкания и «яблока головного мозга», когда сектантам кажется, что кроме них вокруг нет больше ничего. Церебральный хохлоглист мутировал, наевшись яблок — и теперь поражает как любителей надкушенных гаджетов, так и их разработчиков. Ширится, растет заболевание.
Источник
Новостной сайт E-News.su | E-News.pro. Используя материалы, размещайте обратную ссылку.
Оказать финансовую помощь сайту E-News.su | E-News.pro
Если заметили ошибку, выделите фрагмент текста и нажмите Ctrl+Enter (не выделяйте 1 знак)










