Toyota придумала коробку передач, которая и не «механика», и не «автомат»
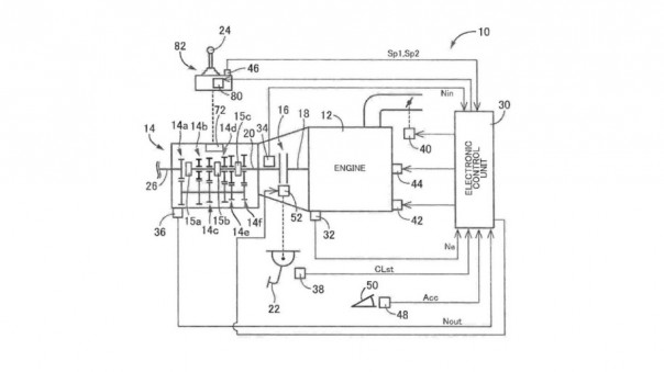
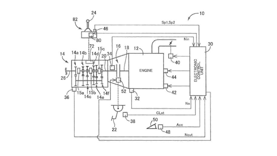
Компания Toyota придумала новый тип коробки передач, совмещающий в себе особенности механической и автоматической трансмиссий. Агрегат требует ручного переключения передач, однако не позволяет ошибиться с их выбором. Соответствующий документ опубликован на сайте Ведомства по патентам и товарным знакам США.
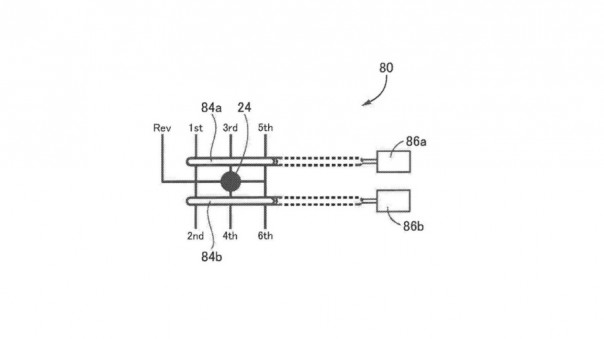
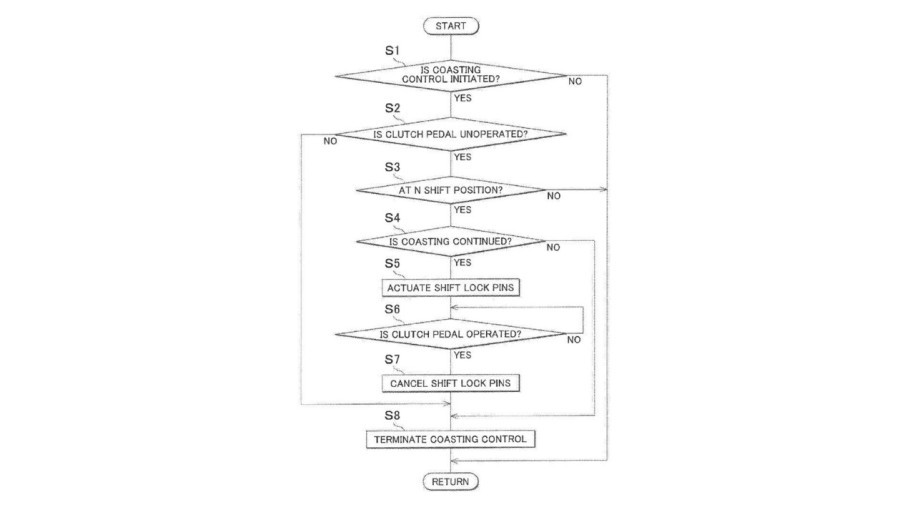
Одной из ключевых особенностей такой коробки передач стала способность самостоятельно переключаться в «нейтраль» — точнее, агрегат может сам размыкать сцепление. Это предусмотрено для движения накатом и должно положительно сказаться на расходе топлива.
Вместе с тем электроника трансмиссии не даст ошибиться с выбором передачи — водитель не сможет включить передачи, которые не соответствуют текущей скорости или оборотам двигателя. Такое решение, предположительно, убережет технику от лишнего износа и одновременно создаст более комфортные условия для начинающих водителей.
Планирует ли «Тойота» серийный выпуск подобной коробки передач и на какой модели она могла бы появиться — не сообщается.
Источник
Новостной сайт E-News.su | E-News.pro. Используя материалы, размещайте обратную ссылку.
Оказать финансовую помощь сайту E-News.su | E-News.pro
Если заметили ошибку, выделите фрагмент текста и нажмите Ctrl+Enter (не выделяйте 1 знак)













